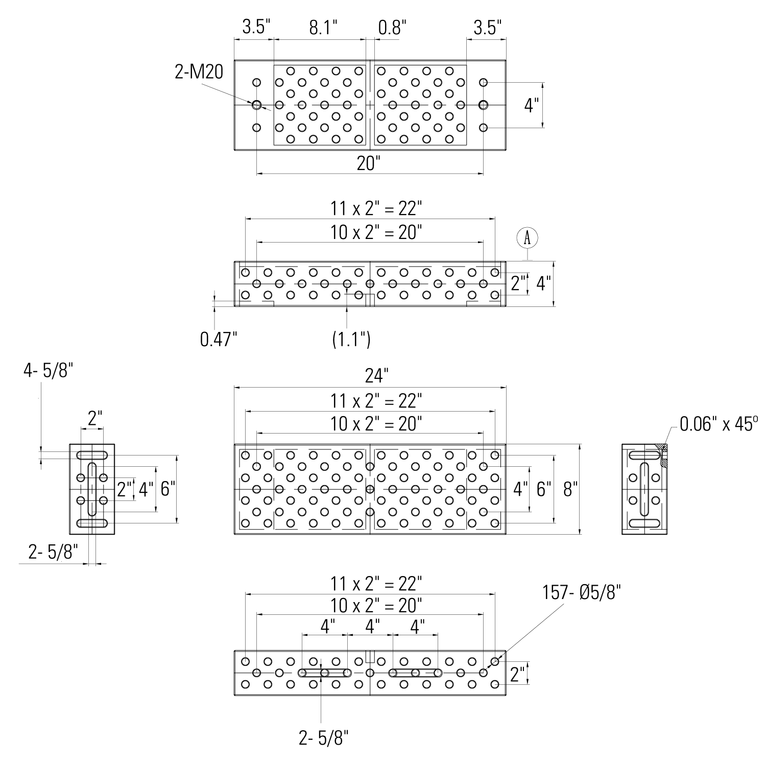
Heavy Duty Blocks are ideally suited for large vertical setups or joining multiple Alpha 5/8 tables together for long projects.
Both Heavy Duty Riser Blocks are nitrided and have total of 6 slots on the top, bottom, and side surfaces for adjustment.
Available in 24" and 36" lengths.






























